Samuel Sheridan Leach, Bedford County, PA gun designer

Introduction: Samuel Sheridan "Sherd" Leach is identified as a Bedford County, Pennsylvania gunsmith in several collector books due to his 1904 patent for a firing mechanism for triple-barrel breech-loading guns. I have not found anything connecting him to muzzle loading long rifles, but he is listed as as having a gun shop in the 1910 census and is listed as a gunsmith in the 1930 census.

L. Dietle
camouflage

Promo image

Relations: The following diagram shows how Sheridan Leach's wife Sophia Smouse is a niece of the gunsmiths Daniel and William Defibaugh, and a first cousin of the gunsmiths Wesley, Milton, David, and Lawrence Defibaugh.

1864: According to the tombstone he shares with his wife, Samuel Sheridan Leach was born on November 13, 1864.

1870: The following excerpt from the 1870 census shows the future gun designer Samuel Sheridan Leach living in his father's household in Monroe Township:
Samuel Leach family in the 1870 census of Monroe Township, Bedford County, Pennsylvania.

1880: I did not find the Samuel Leach family in the manuscript 1880 census records of Monroe Township or West Providence Township.

1886: The 1983 booklet "Gunsmiths and Gunmakers of Bedford and Somerset Counties Pennsylvania 1770-1900" reports that Samuel Sheridan Leach is included in the Mattie, West Providence Township portion of the 1886 Farquar's Directory as a carpenter.

1893: The following excerpt from page 47 of the 1908 book "The History of the Smouse Family of America" indicates that Sophia Smouse was a daughter of William and Hannah (Gilliam) Smouse and married Sheridan S. Leach, and provides a list their children. A web page about Sophia Smouse indicates she married Sheridan S. Leach on March 22, 1893.

The following excerpt from page 41 of the 1908 Smouse book provides enough information to determine that one of Sophia (Smouse) Leach's uncles was the gunsmith William Defibaugh. That makes William Defibaugh's four gunsmith sons her first cousins (Wesley, Milton, David, and Lawrence Defibaugh).

According to the 1963 book "Some Nycum Descendants" Sophia (Nycum) Smouse's daughter Sophia Smouse was born circa 1822 and married the blacksmith Daniel Defibaugh. The book also reports that Sophia (Nycum) Smouse's daughter Elizabeth Smouse married William Defibaugh. According to Mary Lou Cook's August 3, 2013 Defibaugh working file, Daniel L. Defibaugh was a brother of the gunsmith William Defibaugh, and they were sons of Daniel Defibaugh. This provides enough information to determine that another of Sophia (Smouse) Leach's uncles was the gunsmith Daniel Lysinger Defibaugh

The following excerpt from page 42 of the 1908 Smouse book is from a multi-page recital of Michael Smouse's children, and clearly relates to Michael's daughter Sophia, the wife of Daniel L. Defibaugh, because the unusual names of the children match the names of Daniel L. Defibaugh's children that are listed in the 1860 census.

Circa 1894: The 1910 and 1910 censuses indicate that Sheridan Leach had a son named William who was born circa 1894.

1896: The 1900, 1910, and 1920 censuses indicate that Sheridan Leach had a daughter named D. Mae who was born circa 1896. Mae Leach and George D. Carbaugh share a tombstone at the Bedford Cemetery. The tombstone indicates that Mae Leach was born in 1896 and died in 1978. The obituary of Percy Leach identifies her as Percy's sister and the obituary of Sheridan S. Leach identifies her as Sheridan's daughter.

1897: The 1900, 1910, and 1920 censuses indicate that Sheridan Leach had a son named Percy who was born circa 1898. According to the following obituary, Percy Leach is a son of Samuel Sheridan Leach, and was born on November 23, 1897. This obituary names two sisters of Percy: Mae and Evelyn.

1897: The death certificate of Percy Leach also indicates he was born on November 23, 1897.

1899: The 1900, 1910, and 1920 censuses indicate that Sheridan Leach had a son named Raymond who was born circa 1899-1900. The obituary of 67-year-old Raymond A. Leach appears in the May 19, 1966 issue of the "Bedford Inquirer" newspaper, and describes him as a native of Everett and a son of Sherd and Sophia (Smouse) Leach. The obituary reports that he was born in Providence Township on April 8, 1899, died on May 15, 1966 in Chambersburg, and was survived by a brother Mr. Percy C. Leach of Everett, a sister Mrs. Mae Carbaugh of Bedford, and a sister Mrs. Evelyn Horne of Bedford. The obituary indicates was buried in the Everett Cemetery on May 18, 1966.

1900: U.S. Patent 649,321 was issued to Samuel S. Leach of Everitt for an adjustable pipe wrench on May 8, 1900. The Canadian counterpart is Canadian Patent 70,881.

1900: The following excerpt from the 1900 census of West Providence Township lists Sheridan S. Leach as a machinist.

1900: The following entry is from the 1900 directory of Bedford County:

1902: Samuel Sheridan Leach's mother died in 1902 and is buried in the Everett Cemetery where her part of the tombstone she shares with her husband states, "Lucinda wife of Saml. Leach Mar. 4, 1839. Apr. 26, 1902."

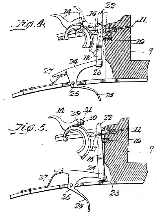
1904: Samuel Leach of Everett is included in this web study because of his October 18, 1904 gun design patent "Single trigger mechanism for double barrel guns", U.S. Patent 772,809. Click here to see a pdf copy of U.S. Patent 772,809, which pertains to breech loading drillings (three-barrelled guns). Here are two key images from the gun patent:

Here is an overview photo of one of Samuel Leach's breech loading drillings. Click here to see a detailed photo survey of this drilling.
A combination gun built by gun designer Samuel Leach.

1904: The September 30, 1904 of the "Bedford Gazette" newspaper include the statement "THIS WEEK'S SESSIONS, Court met on Monday at 1:30 p.m., pursuant to adjournment, with all of the judges present. The list of petit jurors was read and the following excused: William Fluke, Sheridan Leach..."

1905: The August 25, 1905 issue of the "Everett Press" newspaper indicates that Mrs. Sherd Leach and two of her children attended the Monroe Township birthday party of 17-year-old Maude Shaw, daughter of Mr. & Mrs. Jerry Shaw, on August 22, 1905.

1909: The 1910 and 1920 censuses indicate that Sheridan Leach had a daughter named Evelyn who was born circa 1909-1910. Evelyn I. Horne is buried at the Bedford County Memorial Park, where the tombstone she shares with D. Edgar Horne indicates that she was born in 1909 and died in 1992. This would be the sister Evelyn Horne who is identified in the obituary of Percy Leach that is included above, and would be the daughter Evelyn Yetter who is identified in the obituary of Samuel S. Leach that is included below.

1910: The following excerpt from the 1910 census of West Providence Township lists Sheridan S. Leach as a machinist with a gun shop.

1913: The September 19, 1913 issue of the "Altoona Tribune" newspaper contains the statement, "Mrs. Sherd Leach and daughter Eveline, of Bedford county, are visiting at the residence of Mr. and Mrs. Joseph Anderson, 1922 Tenth avenue."

1914: Samuel Sheridan Leach's father Samuel died in 1914 and is buried in the Everett Cemetery where his part of the tombstone he shares with his wife Lucinda states "Samuel Leach Sept. 20, 1837 May 10, 1914 Co. _ 22 Reg. Pa. Cav."

1920: The following excerpt from the 1920 census of Providence Township lists Sheridan Leach as a machinist.

1924: Samuel Sheridan Leach's cement block shop was located approximately at 40.00932, -78.38334, and is illustrated in blue on the following excerpt from the 1924 Sanborn fire insurance map of Everett, Pennsylvania. The site of the shop is now part of the parking lot of the American Legion.

1930: The following excerpt from the 1930 census shows the Samuel Sheridan Leach household in West Providence Township, and identifies his occupation as gunsmith:

1936: The obituary of Miss Jennie Leach was published in the January 10, 1936 issue of the "Bedford Gazette" newspaper, and lists Mrs. Etta Dicken and Mr. Sheridan Leach of Everett as surviving siblings. Jennie died in Altoona on January 4, 1936 and was buried in the Everett Cemetery.

1937: According to their shared tombstone, Samuel Leach's wife Sophia B. Leach was born on December 15, 1872 and died on December 1, 1937.

1940: The following excerpt from the 1940 census shows Samuel Sheridan Leach living as a boarder in someone else's household in Broad Top Township:

1944: Samuel Leach is buried at the Everett Cemetery (40.01085154, -78.35858904). His tombstone gives his name as "S. Sheridan".

1944: The following obituary from the December 15, 1944 issue of the "Bedford Gazette" newspaper indicates that Sheridan Leach was born on November 13, 1864 and died on December 11, 1944. The obituary names two children who are not listed in the aforementioned Smouse and Nycum books.

1944: Here is the death certificate of Sheridan S. Leach, which identifies his father's name as Samuel Leach:

Based on at least one family member interview, page 126 of James B. Whisker's 1990 book "Arms Makers of Pennsylvania" indicates that Samuel Sheridan Leach also converted rifles with turn bolt actions to some type of straight pull action.

For more information on Samuel Sheridan Leach including his portrait, see the article "Samuel 'Sheridan' Leach and His Inventions 1864-1944" in the Fall 2021 issue of " The Pioneer", a publication of the Bedford county, Pennsylvania Historical Society.

Return to Gunsmith Index

Return to the Korns family genealogy home page

Promo image